The VEVOR Handrail is one of the most popular handrails available in the market, and it comes with detailed installation instructions for easy and safe installation.
If you are planning to install a handrail for your stairs, it is essential to follow the instructions carefully to ensure safe and secure installation. In this article, we will provide you with an overview of the VEVOR Handrail installation instructions and PDF guides.
MODEL: D3602-4
Table of contents
SAFE INSTRUCTIONS
CAUTION: Carefully read instructions and procedures for safe operations. Failure to do so can result in serious injury.
WARNING:
1. Before using the handrail, ensure that the handrail is securely installed to prevent personal injury and accidents.
2. When using the handrail, do not overload the handrail to avoid personal injury or accident.
3. Do not draw, cut, or use sharp objects on the handrail to avoid damage. 4. If you need to disassemble the handrail, please follow the reverse steps to disassemble and store it properly.
5. This product is not a toy. Do not allow children to play with this item.
ASSEMBLY PRECAUTIONS
1. Assemble only according to these instructions. Improper assembly can create hazards.
2. Wear ANSI-approved safety goggles and heavy-duty work gloves during assembly.
3. Keep the assembly area clean and well-lit.
4. Keep bystanders out of the area during assembly.
5. Do not assemble when tired or under the influence of alcohol, drugs or medication.
6. Product capabilities apply to properly and completely assembled products only.
7. For additional information regarding the parts listed on the following pages, please refer to the assembly diagram of this manual. Unwrap and separate all parts in a clean work area.
8. For safety reasons, this hardware is recommended to be installed by 2 people.
SAVE THESE INSTRUCTIONS
| Model | D3602-4 |
| Suitable Number Of Steps | 4~5 |
| Suggested Height (in/mm) | 26.7/678 |
| Column Spacing (in/mm) | 48.2/1224 |
| Maximum Bearing Capacity(kg) | 300 |

| Code | Photo | Name | No. | ||
| A | Armrest Tube | 1 | |||
| B | Supporting Pipe | 2 | |||
| C | Small Supporting Pipe | 7 | |||
| Columns | 2 | ||||
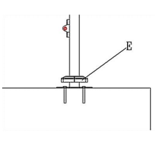
| E | ![]() | blind flange | 2 | ||
| F | Screws M6*30 | 14 | |||
| G | Screws M8*55 | 2 | |||
| H | | Screws M8*45 | 4 | ||
| I | Screws M8*45 | 8 | |||
| J | Drill Bit 10* 150mm | 1 | |||
| K | Expansion Screw M8*50 | 8 | |||
| L | Cap Nut M6 | 14 | |||
| M | Cap Nut M8 | 6 | |||
| N | Inner Hexagon Spanner 4mm | 1 | |||
| O | Inner Hexagon Spanner 5mm | 1 | |||
| P | Wrench | 1 | |||
INSTALLATION INSTRUCTION
Installation preparation:
STEP 1: A, B, C, D, load up the banisters!

STEP 2: Mark on the ground and drill with J.

STEP 3: Lock L on the ground.

STEP 4: Drop the E!

NEED HELP? CONTACT US!
Have product questions? Need technical support? Please feel free to contact us:
Technical Support and E-Warranty Certificate www.vevor.com/support
Conclusion
Installing a handrail is crucial for ensuring the safety of those using the stairs. The VEVOR Handrail is an excellent option for those looking for a safe and secure handrail for their stairs. By following the safety and assembly precautions and the installation instructions provided, you can easily install the VEVOR Handrail and ensure the safety of your family and friends.






